防爆自吸油泵,不銹鋼自吸泵,防爆自吸泵
CYZ-A自吸油泵產品概述:
CYZ-A型自吸油泵是永嘉泉達泵閥制造有限公司結合國內外有關技術資料,經消化、吸收、改善后研發而成的最新自吸泵泵類產品,該自吸泵適用于石油職業、陸地油庫、油罐車產品商品,并適合于作船用貨油泵、艙底泵、消防泵和壓載泵及機器冷卻水循環等,適用于運送汽油、火油、柴油、航煤等石油商品和海水、清水,介質度-20℃-80℃,如運送化工液體可改用耐腐蝕機械密封。
CYZ-A型自吸油泵型號意義:

CYZ-A型自吸油泵產品特點:
1.結構簡單。永嘉泉達生產的該泵屬自吸式油泵,它具有結構簡單、操作方便、運行平穩、維護容易、效率高、壽命長具有較強的自吸能力等優點。管路中不需底閥,工作前只需保證泵體內儲有定量引油即可。用于油輪或輸水船舶上時,可兼作掃艙泵,掃艙效果良好。
2.不需要底閥。CYZ-A型自吸式油泵是選用優質材料精作而成,密封采用硬質合金機械密封,經久耐用,吐出管路不需要安裝安全閥,吸入管路不需要安裝底閥因此簡化了管路系統,又改善了勞動條件。
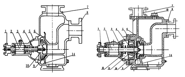
結構圖:

|
1
|
聯軸器
|
2
|
泵軸
|
3
|
軸承
|
4
|
機械密封
|
5
|
軸承體
|
6
|
泵殼
|
7
|
出口座
|
|
8
|
進口座
|
9
|
前密封環
|
10
|
葉輪
|
11
|
后蓋
|
12
|
檔水圈
|
13
|
加液孔
|
14
|
回液孔
|
CYZ-A型自吸油泵工作原理:
自吸油泵均選用軸向回液的泵體計劃。泵體由吸入室、儲液室、渦卷室、回液孔、氣液別離室等組成,泵正常起動后,葉輪將吸入室所存的液體及吸入管路中的空氣一同吸入,并在葉輪內得以徹底混合,在離心力的效果下,液體夾帶著氣體向渦卷室外緣活動,在葉輪的外緣上構成有必定厚度的白色泡沫帶及高速旋轉液環。氣液混合體經過懈怠管進入氣液別離室。此刻,由于流速俄然下降,較輕的氣體從混合氣液中被分離出來,氣體經過泵體排出口持續上升排出。脫氣后的液體回到儲液室,并由回流孔再次進入葉輪,與葉輪內部從吸入管路中吸入的氣體再次混合,在高速旋轉的葉輪效果下,又流向葉輪外緣。跟著這個進程循環往復地進行下去,吸人管路中的空氣不斷削減,直到吸盡氣體,完畢自吸進程,泵便投入正常工作。由于該自吸泵具有這種一同的排氣才調,所以此泵能運送富含氣體的液體,無需設備底閥,使用在油輪上時具有超卓的掃艙功用。
在一些泵的軸承體底部還設有冷卻室。當軸承發熱致使軸承體溫升跨過70℃,可在冷卻室處經過縱情一只冷卻液管接頭,注人冷卻液循環冷卻。泵內部避免液體由高壓區向低壓區走漏的密封組織是前后密封環,前密封環裝在泵體上,后密封環裝在軸承體上,當泵經長時間工作密封環磨損到必定程度,并影響到泵的功率和自吸功用時,應給予替換。
CYZ-A型自吸油泵性能曲線圖:

CYZ-A型自吸油泵性能參數:
|
型號
|
流量
|
揚程(m)
|
吸程(m)
|
轉速(r/min)
|
自吸性能(min/5m)
|
功率(KW)
|
泵口徑(mm)
|
機組重量(kg)
|
|
(m3/h)
|
(L/S)
|
軸功率
|
電機功率
|
吸人
|
排出
|
|
25CYZ-A-20
|
3.2
|
0.9
|
20
|
6.5
|
2900
|
1.9
|
0.46
|
0.75
|
25
|
25
|
72
|
|
25CYZ-A-32
|
3.2
|
0.9
|
32
|
6.5
|
2900
|
1.8
|
0.8
|
1.1
|
25
|
25
|
80
|
|
40CYZ-A-20
|
6.3
|
1.8
|
20
|
6.5
|
2900
|
1.9
|
0.87
|
1.1
|
40
|
32
|
85
|
|
40CYZ-A-40
|
10
|
2.8
|
40
|
6.5
|
2900
|
1.5
|
2.7
|
4
|
40
|
40
|
138
|
|
50CYZ-A-12
|
15
|
4.2
|
12
|
6.5
|
2900
|
2.4
|
1.1
|
1.5
|
50
|
50
|
90
|
|
50CYZ-A-20
|
18
|
5
|
20
|
6.5
|
2900
|
1.9
|
1.8
|
2.2
|
50
|
50
|
98
|
|
50CYZ-A-30
|
20
|
5.6
|
30
|
6.5
|
2900
|
1.5
|
2.6
|
4
|
50
|
50
|
140
|
|
50CYZ-A-35
|
14
|
3.9
|
35
|
6.5
|
2900
|
1.5
|
2.7
|
4
|
50
|
50
|
145
|
|
50CYZ-A-40
|
10
|
2.8
|
40
|
6.5
|
2900
|
1.5
|
2.7
|
4
|
50
|
50
|
145
|
|
50CYZ-A-50
|
12.5
|
3.5
|
50
|
6.5
|
2900
|
1.4
|
4.3
|
5.5
|
50
|
50
|
160
|
|
50CYZ-A-60
|
15
|
4.2
|
60
|
6.5
|
2900
|
1.3
|
6.2
|
7.5
|
50
|
50
|
190
|
|
50CYZ-A-75
|
20
|
5.6
|
75
|
6.5
|
2900
|
1.3
|
9.8
|
11
|
50
|
50
|
240
|
|
65CYZ-A-15
|
30
|
8.3
|
15
|
6.5
|
2900
|
2
|
1.9
|
3
|
65
|
65
|
100
|
|
65CYZ-A-32
|
25
|
6.9
|
32
|
6
|
2900
|
1.5
|
4.4
|
5.5
|
65
|
65
|
165
|
|
80CYZ-A-13
|
35
|
9.7
|
13
|
6
|
2900
|
3.4
|
1.9
|
3
|
80
|
80
|
107
|
|
80CYZ-A-17
|
43
|
12
|
17
|
6
|
2900
|
1.8
|
3.1
|
4
|
80
|
80
|
156
|
|
80CYZ-A-22
|
40
|
11.1
|
22
|
6
|
2900
|
1.9
|
4.4
|
5.5
|
80
|
80
|
169
|
|
80CYZ-A-25
|
50
|
13.9
|
25
|
6
|
2900
|
1.5
|
5.2
|
7.5
|
80
|
80
|
177
|
|
80CYZ-A-32
|
50
|
13.9
|
32
|
6
|
2900
|
1.5
|
6.8
|
7.5
|
80
|
80
|
180
|
|
80CYZ-A-55
|
60
|
16.7
|
55
|
6
|
2900
|
1.5
|
15
|
18.5
|
80
|
80
|
310
|
|
80CYZ-A-70
|
60
|
16.7
|
70
|
6
|
2900
|
1.2
|
20.1
|
22
|
80
|
80
|
333
|
|
100CYZ-A-20
|
100
|
27.8
|
20
|
6
|
2900
|
1.8
|
7.8
|
11
|
100
|
100
|
258
|
|
100CYZ-A-40
|
100
|
27.8
|
40
|
6
|
2900
|
1.8
|
16.3
|
99
|
100
|
100
|
455
|
|
100CYZ-A-40A
|
100
|
27.8
|
40
|
6
|
1450
|
1.8
|
18.5
|
22
|
100
|
100
|
520
|
|
100CYZ-A-65
|
100
|
27.8
|
65
|
6
|
2900
|
1.8
|
27.7
|
30
|
100
|
100
|
620
|
|
100CYZ-A-75
|
70
|
19.4
|
75
|
6
|
2900
|
1.8
|
24.2
|
30
|
100
|
100
|
639
|
|
150CYZ-A-55
|
170
|
47.2
|
55
|
5
|
2900
|
1.8
|
39.2
|
45
|
150
|
150
|
830
|
|
150CYZ-A-65
|
170
|
47.2
|
65
|
5
|
2900
|
1.3
|
46.3
|
55
|
150
|
150
|
957
|
|
150CYZ-A-65A
|
170
|
47.2
|
65
|
5
|
1450
|
1.2
|
49.8
|
55
|
150
|
150
|
1138
|
|
150CYZ-A-80
|
160
|
44.4
|
80
|
5
|
2900
|
1.2
|
53.6
|
55
|
150
|
150
|
986
|
|
200CYZ-A-32
|
400
|
111.1
|
32
|
5
|
1450
|
2
|
52.1
|
55
|
200
|
200
|
1205
|
|
200CYZ-A-63
|
280
|
77.8
|
63
|
5
|
1450
|
1.5
|
73.9
|
90
|
200
|
200
|
1338
|
|
200CYZ-A-65
|
350
|
97.2
|
65
|
5
|
1450
|
1.5
|
97.2
|
110
|
200
|
200
|
1553
|
|
250CYZ-A-32
|
550
|
152.8
|
32
|
5
|
1450
|
2
|
72.3
|
75
|
250
|
250
|
1307
|
|
250CYZ-A-50
|
400
|
111.1
|
50
|
5
|
1450
|
2
|
80
|
90
|
250
|
250
|
1486
|
|
250CYZ-A-55
|
450
|
125
|
55
|
5
|
1450
|
2
|
102.1
|
110
|
250
|
250
|
1681
|
|
250CYZ-A-75
|
400
|
111.1
|
75
|
5
|
1450
|
1.5
|
125.6
|
132
|
250
|
250
|
1829
|
|
300CYZ-A-32
|
600
|
166.7
|
32
|
5
|
1450
|
2
|
79.2
|
90
|
300
|
300
|
1608
|
|
300CYZ-A-50
|
500
|
138.9
|
50
|
5
|
1450
|
2
|
104.6
|
110
|
300
|
300
|
1728
|
|
300CYZ-A-55
|
550
|
152.8
|
55
|
5
|
1450
|
2
|
117.6
|
132
|
300
|
300
|
1995
|
CYZ-A型自吸油泵訂貨請盡量提供:
1.型號2.口徑3.揚程(m)4.流量5.電機功率(KW)6.轉速(R/min)7.材質是否帶附件8.電壓(V)

感謝您訪問我們永嘉泉達的網站【m.dg-hc.com.cn】如有任何水泵疑問.您可以致電給我們,電話:0577-66999097、66999098,我們一定會盡心盡力為您提供優質的服務。
相關產品:
自吸式油泵CYZ-A型 W旋渦泵 (ZS)型系列玻璃鋼自吸泵 FZB氟塑料自吸泵 JMZ移動酒泵 ZWP不銹鋼自吸泵
WFZB無密封自控自吸泵 CYZ-A型自吸式油泵 磁力驅動自吸泵 ZX型自吸式清水泵 ZBF型塑料磁力自吸泵
ZCQ型不銹鋼磁力自吸泵 ZW無堵塞自吸泵 ZW型自吸泵機械密封